关于造纸机干燥部的安装问题
造纸机是制浆造纸企业的主要机器之一,其结构较为复杂。由于纸机是联动机械、转动件较多、转速较快、各部速差不一,工序教长,以及自动化程度较高,因此对安装质量要求特别严格。假如某一部件安装不符合标准,则直接影响到产品的产量、质量和经济效益,同时也会缩短纸机的使用寿命。由此可见,每一部件的安装都应严格按照安装标准进行。下面简单讲一下我对干燥部安装的一点个人见解。
安装干燥部之前,每个烘缸应进行水压试验,以0.5-1.0Mpa的压力持续15min,不得渗漏或降压,(较大值用于大直径光泽烘缸,较小值用于一般烘缸)。如出厂有试压记录,本工作可免除,国外产品亦可免。有条件时烘缸应于粗加工后,进行不少于270天的时效处理。干燥部的导辊及烘缸按下表所列进行检验:

安装时首先要检查烘缸的分组、编号及排列次序。因为纸幅经过干燥而产生收缩,其收缩不但发生组与组之间,而且在每一个烘缸之间也发生收缩,因此不仅要求每组烘缸的线速度不同,也要求各组内每一个烘缸之间的线速度也要有变化。所以干燥部的安装必须注意一下两点要求:
1、 干燥部的烘缸均分为几组,每组烘缸各有一套传动,各组速度是不同的,故有其先后次序,要按设计图纸和制造厂的说明书号码,找出它的分组情况。
2、 因为同一组内烘缸的转速是相同的,但要求烘缸的线速
度变化,以适应纸的收缩,唯有改变烘缸的直径。同组烘缸最大直径和最小直径差值不大于0.3-0.5mm。通常在检查时度量其表面与圆周长度来决定排列次序,即烘缸在每组内是以圆周长渐减次序排列,所以在安装前,必须弄清楚分组的号码,同时要检查每组烘缸的编号次序,然后按顺序搬运进场。
安装步骤
干燥部的安装都是从第一组烘缸开始的,第一烘缸装上轴承后(用滑动轴承的,要先研磨好),按所划的轴向中心线位置吊装在基础板上,初步校验烘缸,使其垂直于纸机的纵向基准线,并将操作侧轴承按图纸预留烘缸膨胀间隙,约4-6mm。
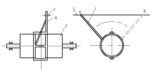
找正第一烘缸与纸机纵向基准线的垂直度,可用下述方法进行:
按下图制成校正烘缸中心框架4,将框架箍住烘缸表面上,旋臂1上装有可调节螺钉3。将烘缸旋转,使旋臂上的调节螺钉尖端在A和B点都刚好接触纵向基准线,可用20倍的放大镜观测,目测无明显误差,即表明烘缸与纸机纵向基准线垂直。

烘缸校正法 1-旋臂;2-纸机纵向基准线;3-可调节螺母;4-框架;5-烘缸
第一烘缸(或其他烘缸)的水平度,用水平尺放在烘缸表面中部,并将烘缸回转,检查沿圆周上各个位置的数值,取其平均值,作为安装的水平度。如果安装曾使用过的烘缸,须在水平尺下放置平尺来检验。抄速大于350m/min或抄造特种高级纸的纸机,允许公差±0.08mm/m,抄造150m/min的一般造纸机,允许误差±0.10mm/m;抄速低于150m/min的一般造纸机,允许公差±0.12mm/m。
找正烘缸不容许用加垫片的方法。唯有将轴承座和机架的结合面加以研磨。反复检查烘缸位置与水平,调整轴承壳密封间隙四周一致(用塞尺测定),紧固轴承座螺栓,并将最后水平度进行记录,应符合上述要求。
组装其余各烘缸之前应该核对各烘缸的编号与所标示的转向箭头,是否符合安装图纸的要求。
各烘缸在组装前应该装配两端轴承,滑动轴承或滚动轴承的配合应符合要求,如传动侧系由齿轮箱做机架的,则应将齿轮、齿轮箱、轴承按规定装配在烘缸轴头上,并装上密封盖,以防杂物尘土侵入。
干燥部各烘缸原则上是按编号顺序组装与找正。其传动设计是闭式齿轮箱结构,则其组装顺序为交错进行,即先组装相邻的两个下烘缸,再装其间的上烘缸。机架与齿轮箱也顺序组装。底层毛布烘缸应提前就位,以减少吊装困难,上层毛布烘缸则等待机架装完后进行。
当第一烘缸找正后,即组装与找正机架、中间齿轮箱和第一个上烘缸、第二个下烘缸、装配好传动大齿轮,根据齿轮啮合间隙与齿轮箱位置,找正上、下烘缸,并调整操作侧的轴承位置。按第一烘缸的找正方法校正各个烘缸位置及水平度。同时,以第一烘缸为基准,用张开石棒量规进行校验烘缸间的平行度。方法如下:
1、 棒量规有一根可滑动调节的量杆1,它可以在支架2内移动, 支架的两脚成钝角形,以便于放置在烘缸的表面上,如下图:
2、 将棒量规放在烘缸2的一端上,以支架两脚卡在烘缸表面上, 将棒量规向左右摆动,并使棒量规的量杆1触及烘缸4的表面,此时即固定量杆1于支架2内。然后移动棒量规放在烘缸的另一端上,并同样摆动棒量规,如果量杆1受阻或其尖端与烘缸4表面留有间隙,就证明这两个烘缸彼此不平行。只有棒量规尖端在烘缸两端位置上松紧度一样才算平行。如果烘缸表面间的距离较大,可在棒量规的量杆上装千分尺来检验,这是最准确的方法。通常如图所示在A、B、C三处检验烘缸的平行度,并以此来决定烘缸4的位置。
各烘缸的平行度的要求:如抄速在350m/min以上或抄造特种高级纸的造纸机,要求控制在±0.05mm以内;抄速在350m/min以下的一般造纸机在±0.08mm以内。


烘缸的安装自第一烘缸开始,然后安装下排第二只烘缸(即第3号),再次为上排第一只(即第2号)。其顺序为下排1、3、5、7、9……,上排为2、4、6、8……各组均以第一个上烘缸和下烘缸为基准。每组第一下烘缸,都检验它与纵向基准线是否垂直。顺序找正烘缸面见的平行度,应根据烘缸的制造公差和累积平行度偏差,调整校正NO1缸与NO3缸平行,再交叉校正NO2缸平行,用棒量规放在传动侧和操作侧的缸边找正每一个烘缸的位置。每组烘缸总平行度累计误差与烘缸制造公差之和是:抄速在350m/min以上或抄造特种高级纸的造纸机控制在±0.2mm以内;抄速在350m/min以下的一般造纸机控制在0.3mm以内。如无制造公差数据资料,则可用量规检查两端轴颈间距来判断。
抄速低于150m/min的一般造纸机烘缸间平行度的找正,也可以用量规测量两端轴颈的中心距离,其距离的允许误差应符合齿轮传动中心距的允许公差要求。
组装各组烘缸应使烘缸的排气旋塞或人孔位置均处于同一方位上。
烘缸表面系精加工,要注意保护,在组装找正时,不能全部擦去防锈剂,只在放水平尺及找正平行度的地方,局部擦干净,找正完毕立即涂上防锈剂,以免发生锈蚀。等待试机通气暖缸时才全部清洗。
如烘缸齿轮安装在传动侧的支架内,成为封闭式齿轮箱,则在每两个烘缸组装后打开检查孔检查齿轮间隙,应该符合规定的要求。并且以人力旋转烘缸,检查其灵活程度。齿轮箱的结合面不容许加垫,应按图纸要求均匀地涂上一层防漏油料,以防止漏油。
干燥部各毛布导辊、导纸辊、调节辊、张紧辊、刮刀等及其操作装置,应按图纸位置在组装烘缸的同时插入就位。各辊子应该与烘缸平行,可用吊线法检查,以目测无误差:辊子的水平度当抄速在350m/min以上或抄造特种高级纸的造纸机,允许公差±0.15mm/m;抄速在350m/min以下的一般造纸机,允许公差±0.20mm/m,操作侧的轴承均应有膨胀间隙。
刮刀应按图纸标示的角度进行组装,刀刃直线度不大于0.05mm/m,刀面直线度不大于0.15mm/m,刮刀两端轴颈轴心线对铸铁闷头同轴度不大于0.02mm。刀刃与烘缸表面均匀贴合,以透光法和塞尺配合检查,要求间隙不能塞入0.05mm的塞尺为准,不贴合的长度不得超过刮刀全幅的10%。遇检查达不到上述要求,即在不透光部位的刀刃上用细锉刀锉削或用油石研磨之。
组装烘缸气头时应注意排冷凝水的虹吸管或水斗的安装情况,若是虹吸管必须使其管口向下弯,并与烘缸内壁靠近;若是水斗必须检查其位置及旋转方向。两者均不能错装,以免因排不出冷凝水而发生机械事故,或影响纸业的干度。进气头的石墨垫圈四周受压要均匀。进气头支架及进气管、排冷凝水管的安装,应保证进气头不受过大的外力作用。可用塞尺检查。
干燥部的附属装置,如引纸装置、横吹装置、走台、扶梯等,在主体组装完毕后进行,应符合图纸的位置要求。
烘缸抽气罩的组装可在干燥部全部组装完工后进行。必须按设计图纸的要求组装,要求接缝严密,安装牢固、汽罩周围挺直无波浪、整齐美观。



